GB/ T 67 - 2016 开槽盘头螺钉
标准:GB /T67-2016 开槽盘头螺钉 A级
工艺:冷镦
详细信息
GB/ T 67 - 2016 开槽盘头螺钉
材质、等级:4.8级、8.8级、10.9级、12.9级、304、316等。
表面处理:环保蓝白锌,环保彩锌,环保达克罗,锌镍合金,镀镍,环保黑锌等。
盐雾时间:可做48H、72H、120H、240H等。
可做十字一字复合槽、防盗槽型、锁紧螺纹、涂胶螺钉等,可根据客户要求进行定制。
电话咨询:400-086-0001 025-86183701-8026
徐小姐
邮件咨询:dm8026@18luosi.com
QQ咨询:2850588428
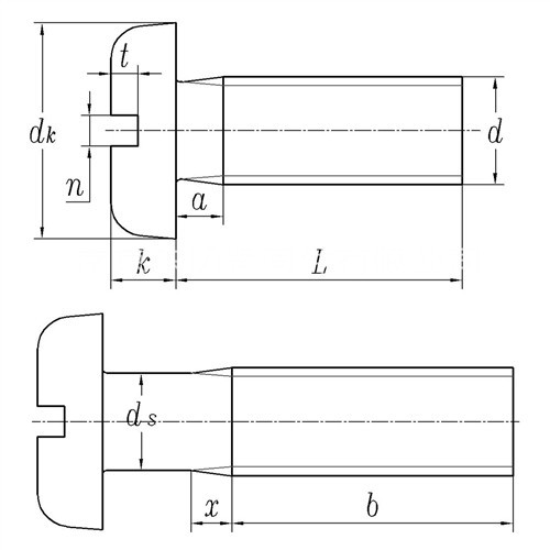
公称直径 | M1.6 | M2 | M2.5 | M3 | (M3.5) | M4 | M5 | M6 | M8 | M10 | |
P | 螺距 | 0.35 | 0.4 | 0.45 | 0.5 | 0.6 | 0.7 | 0.8 | 1 | 1.25 | 1.5 |
b | 最小值 | 25 | 25 | 25 | 25 | 38 | 38 | 38 | 38 | 38 | 38 |
dk | 最大值=公称 | 3.2 | 4 | 5 | 5.6 | 7 | 8 | 9.5 | 12 | 16 | 20 |
最小值 | 2.9 | 3.7 | 4.7 | 5.3 | 6.64 | 7.64 | 9.14 | 11.57 | 15.57 | 19.48 | |
k | 最大值=公称 | 1 | 1.3 | 1.5 | 1.8 | 2.1 | 2.4 | 3 | 3.6 | 4.8 | 6 |
最小值 | 0.86 | 1.16 | 1.36 | 1.66 | 1.96 | 2.26 | 2.88 | 3.3 | 4.5 | 5.7 | |
n | 公称 | 0.4 | 0.5 | 0.6 | 0.8 | 1 | 1.2 | 1.2 | 1.6 | 2 | 2.5 |
最大值 | 0.6 | 0.7 | 0.8 | 1 | 1.2 | 1.51 | 1.51 | 1.91 | 2.31 | 2.81 | |
最小值 | 0.46 | 0.56 | 0.66 | 0.86 | 1.06 | 1.26 | 1.26 | 1.66 | 2.06 | 2.56 | |
t | 最小值 | 0.35 | 0.5 | 0.6 | 0.7 | 0.8 | 1 | 1.2 | 1.4 | 1.9 | 2.4 |
①,尽可能不采用括号内规格 | |||||||||||
②,M1.6~M3.0的螺钉L值≤30mm时,应制出全螺纹(b=L-a); | |||||||||||
③,3.5~M10的螺钉L值≤40mm时,应制出全螺纹(b=L-a); |