GB/T5786(细牙) 外六角螺栓
标准:GB /T5786-2016 六角头螺栓 细牙 全螺纹
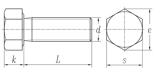
详细信息
GB/T5786(细牙) 外六角螺栓 材质、等级:8.8级、10.9级、12.9级 、A2-70、A4-70 、A4-80等
表面处理:镀普通蓝白锌、普通彩锌、热镀锌、环保彩锌、环保蓝白锌、环保达克罗等
盐雾时间:可做72H、96H、120H、300H、360H、720H等高盐雾处理
电话咨询:400-086-0001 025-86183701-8026
徐小姐
邮件咨询:dm8026@18luosi.com
QQ咨询:2850588428

Nominal Diameter
M8
M10
(M10)
M12
(M12)
(M14)
M16
(M18)
M20
(M20)
(M22)
M24
(M27)
M30
(M33)
M36
(M39)
M42
(M45)
M48
(M52)
M56
(M60)
M64
P
1
1
1.25
1.5
1.25
1.5
1.5
1.5
1.5
2
1.5
2
2
2
2
3
3
3
3
3
4
4
4
4
e
Grade A
min
14.38
17.77
17.77
20.03
20.03
23.36
26.75
30.14
33.53
33.53
37.72
39.98
/
/
/
/
/
/
/
/
/
/
/
/
Grade B
min
14.2
17.59
17.59
19.85
19.85
22.78
26.17
29.56
32.95
32.95
37.29
39.55
45.2
50.85
55.37
60.79
66.44
71.3
76.95
82.6
88.25
93.56
99.21
104.86
k
Nominal Size
5.3
6.4
6.4
7.5
7.5
8.8
10
11.5
12.5
12.5
14
15
17
18.7
21
22.5
25
26
28
30
33
35
38
40
Grade A
max
5.45
6.58
6.58
7.68
7.68
8.98
10.18
11.715
12.715
12.715
14.215
15.215
/
/
/
/
/
/
/
/
/
/
/
/
min
5.15
6.22
6.22
7.32
7.32
8.62
9.82
11.285
12.285
12.285
13.785
14.785
/
/
/
/
/
/
/
/
/
/
/
/
Grade B
max
5.54
6.69
6.69
7.79
7.79
9.09
10.29
11.85
12.85
12.85
14.35
15.35
17.35
19.12
21.42
22.92
25.42
26.42
28.42
30.42
33.5
35.5
38.5
40.5
min
5.06
6.11
6.11
7.21
7.21
8.51
9.71
11.15
12.15
12.15
13.65
14.65
16.65
18.28
20.58
22.08
24.58
25.58
27.58
29.58
32.5
34.5
37.5
39.5
s
max=nominal size
13
16
16
18
18
21
24
27
30
30
34
36
41
46
50
55
60
65
70
75
80
85
90
95
Grade A
min
12.73
15.73
15.73
17.73
17.73
20.67
23.67
26.67
29.67
29.67
33.38
35.38
/
/
/
/
/
/
/
/
/
/
/
/
Grade B
min
12.57
15.57
15.57
17.57
17.57
20.16
23.16
26.16
29.16
29.16
33
35
40
45
49
53.8
58.8
63.1
68.1
73.1
78.1
82.8
87.8
92.8
<table class="table table-bordered table-hover" "="">