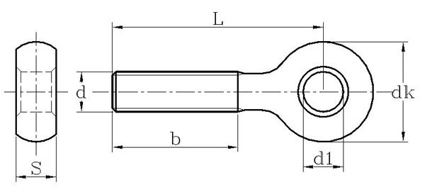
DIN444 活节螺栓
标准:DIN 444-2017 活节螺栓
工艺:冷镦
详细信息
DIN444 活节螺栓 材质、等级:8.8级、10.9级、12.9级 、A2-70、A4-70 、A4-80等
表面处理:镀普通蓝白锌、普通彩锌、热镀锌、环保彩锌、环保蓝白锌、环保达克罗等
盐雾时间:可做72H、96H、120H、300H、360H、720H等高盐雾处理
电话咨询:400-086-0001 025-86183701-8026
徐小姐
邮件咨询:dm8026@18luosi.com
QQ咨询:2850588428

| Nominal Diameter | M5 | M6 | M8 | M10 | M12 | M16 | M20 | M24 | (M27) | (M27) | M30 | M30 | (M33) | M36 | M36 | (M39) | (M39) | |
| P | Pitch | 0.8 | 1 | 1.25 | 1.5 | 1.75 | 2 | 2.5 | 3 | 3 | 3 | 3.5 | 3.5 | 3.5 | 4 | 4 | 4 | 4 |
| b | L≤125 | 16 | 18 | 22 | 26 | 30 | 38 | 46 | 54 | 60 | 60 | 66 | 66 | / | / | / | / | / |
| 125<L≤200 | / | / | 28 | 32 | 36 | 44 | 52 | 60 | 66 | 66 | 72 | 72 | 78 | 84 | 84 | 90 | 90 | |
| L>200 | / | / | / | / | 49 | 57 | 65 | 73 | 79 | 79 | 85 | 85 | 91 | 97 | 97 | 103 | 103 | |
| d1 | max | 5.03 | 6.03 | 8.036 | 10.036 | 12.043 | 16.043 | 18.043 | 22.052 | 24.052 | 25.052 | 27.052 | 28.052 | 30.052 | 32.062 | 33.062 | 35.062 | 36.062 |
| min | 5 | 6 | 8 | 10 | 12 | 16 | 18 | 22 | 24 | 25 | 27 | 28 | 30 | 32 | 33 | 35 | 36 | |
| dk | Tpye A max | 12 | 14 | 18 | 20 | 25 | 32 | 40 | 45 | 50 | 50 | 55 | 55 | 60 | 65 | 65 | 70 | 70 |
| Tpye A min | 10.9 | 12.9 | 16.9 | 18.7 | 23.7 | 30.4 | 38.4 | 43.4 | 48.4 | 48.4 | 53.1 | 53.1 | 58.1 | 63.1 | 63.1 | 68.1 | 68.1 | |
| Tpye B and C max | 12 | 14 | 18 | 20 | 25 | 32 | 40 | 45 | 50 | 50 | 55 | 55 | 60 | 65 | 65 | 70 | 70 | |
| Tpye B and C min | 11.57 | 13.57 | 17.57 | 19.48 | 24.48 | 31.38 | 39.38 | 44.38 | 49.38 | 49.38 | 54.26 | 54.26 | 59.26 | 64.26 | 64.26 | 69.26 | 69.26 | |
| s | Type A max | 8 | 9 | 11 | 14 | 17 | 19 | 24 | 28 | 30 | 30 | 34 | 34 | 38 | 41 | 41 | 46 | 46 |
| Type A min | 7.52 | 8.52 | 10.3 | 13.3 | 16.3 | 18.16 | 23.16 | 27.16 | 29.16 | 29.16 | 33 | 33 | 37 | 40 | 40 | 45 | 45 | |
| Type B and C max | 6 | 7 | 9 | 12 | 14 | 17 | 22 | 25 | 27 | 27 | 30 | 30 | 34 | 38 | 38 | 41 | 41 | |
| Type B and C min | 5.88 | 6.85 | 8.85 | 11.82 | 13.82 | 16.82 | 21.79 | 24.79 | 26.79 | 26.79 | 29.79 | 29.79 | 33.75 | 37.75 | 37.75 | 40.75 | 40.75 | |