GB/T799 地脚螺栓
标准:GB 799-1988 地脚螺栓
工艺:冷镦
详细信息
GB/T799 地脚螺栓 材质、等级:8.8级、10.9级、12.9级 、A2-70、A4-70 、A4-80等
表面处理:镀普通蓝白锌、普通彩锌、热镀锌、环保彩锌、环保蓝白锌、环保达克罗等
盐雾时间:可做72H、96H、120H、300H、360H、720H等高盐雾处理
电话咨询:400-086-0001 025-86183701-8026
徐小姐
邮件咨询:dm8026@18luosi.com
QQ咨询:2850588428

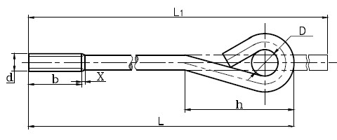
| Nominal Diameter | M6 | M8 | M10 | M12 | M16 | M20 | M24 | M30 | M36 | M42 | M48 | |
| P | Pitch | 1 | 1.25 | 1.5 | 1.75 | 2 | 2.5 | 3 | 3.5 | 4 | 4.5 | 5 |
| b | max | 27 | 31 | 36 | 40 | 50 | 58 | 68 | 80 | 94 | 106 | 118 |
| min | 24 | 28 | 32 | 36 | 44 | 52 | 60 | 72 | 84 | 96 | 108 | |
| D | 10 | 10 | 15 | 20 | 20 | 30 | 30 | 45 | 60 | 60 | 70 | |
| h | 41 | 46 | 65 | 82 | 93 | 127 | 139 | 192 | 244 | 261 | 302 | |
| L1 | L+37 | L+37 | L+53 | L+72 | L+72 | L+110 | L+110 | L+165 | L+217 | L+217 | L+225 | |
| x | max | 2.5 | 3.2 | 3.8 | 4.2 | 5 | 6.3 | 7.5 | 8.8 | 10 | 11.3 | 12.5 |