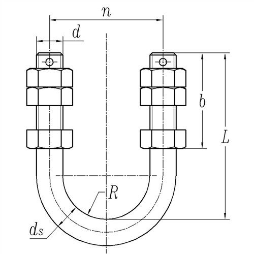
GB/T2329-1985 U型螺栓
标准:GB (U)2329-1985 U形螺栓 - U型
工艺:冷镦
详细信息
GB/T2329-1985 U型螺栓 材质、等级:8.8级、10.9级、12.9级 、A2-70、A4-70 、A4-80等
表面处理:镀普通蓝白锌、普通彩锌、热镀锌、环保彩锌、环保蓝白锌、环保达克罗等
盐雾时间:可做72H、96H、120H、300H、360H、720H等高盐雾处理
电话咨询:400-086-0001 025-86183701-8026
徐小姐
邮件咨询:dm8026@18luosi.com
QQ咨询:2850588428

| Part No. | U-1880 | U-2080 | U-2280 | |||
| n | 80 | 80 | 80 | |||
| d | M18 | M20 | M22 | |||
| ds | 18 | 20 | 22 | |||
| L | 90 | 100 | 118 | |||
| b | 60 | 70 | 90 | |||
| Vertical | Load(KN) | 35.3 | 47 | 56.8 | ||
| Longitudinal | 17.6 | 23.5 | 28.4 | |||
| Lateral | 3.5 | 4.9 | 6.5 | |||