GB/T 6187.1 - 2016 2型全金属六角法兰面锁紧螺母
工艺:
详细信息
GB/T 6187.1 - 2016 2型全金属六角法兰面锁紧螺母
材质、等级:4级、8级、10级、12级、A2-70、A4-70 、A4-80等
表面处理:镀普通蓝白锌、普通彩锌、热镀锌、环保彩锌、环保蓝白锌、环保达克罗等
盐雾时间:可做72H、96H、120H、300H、360H、720H等高盐雾处理
电话咨询:400-086-0001 025-86183701-8026
徐小姐
邮件咨询:dm8026@18luosi.com
QQ咨询:2850588428

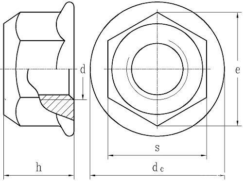
| 公称直径 | M5 | M6 | M8 | M10 | M12 | (M14) | M16 | M20 | |
| P | 螺距 | 0.8 | 1 | 1.25 | 1.5 | 1.75 | 2 | 2 | 2.5 |
| dc | 最大值 | 11.8 | 14.2 | 17.9 | 21.8 | 26 | 29.9 | 34.5 | 42.8 |
| e | 最小值 | 8.79 | 11.05 | 14.38 | 16.64 | 20.03 | 23.36 | 26.75 | 32.95 |
| h | 最大值 | 6.2 | 7.3 | 9.4 | 11.4 | 13.8 | 15.9 | 18.3 | 22.4 |
| 最小值 | 5.7 | 6.8 | 8.74 | 10.34 | 12.57 | 14.8 | 17.2 | 20.3 | |
| s | 最大值 | 8 | 10 | 13 | 15 | 18 | 21 | 24 | 30 |
| 最小值 | 7.78 | 9.78 | 12.73 | 14.73 | 17.73 | 20.67 | 23.67 | 29.16 | |
| 千件重(钢制)≈kg | 1.55 | 3 | 6.4 | 9.97 | 17.36 | 27.22 | 41 | 73.91 | |