DIN 985 - 1987 非金属嵌件薄型锁紧螺母
工艺:
详细信息
DIN 985 - 1987 非金属嵌件薄型锁紧螺母
材质、等级:4级、8级、10级、12级、A2-70、A4-70 、A4-80等
表面处理:镀普通蓝白锌、普通彩锌、热镀锌、环保彩锌、环保蓝白锌、环保达克罗等
盐雾时间:可做72H、96H、120H、300H、360H、720H等高盐雾处理
电话咨询:400-086-0001 025-86183701-8026
徐小姐
邮件咨询:dm8026@18luosi.com
QQ咨询:2850588428

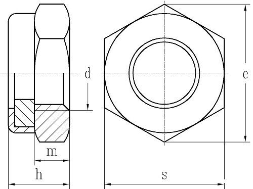
| 公称直径 | M3 | M4 | M5 | M5 | M6 | M7 | M8 | M10 | M12 | M14 | M16 | M18 | M20 | M22 | M24 | M27 | M30 | M33 | M36 | M39 | M42 | M45 | M48 | |
| P | 螺距(粗牙) | 0.5 | 0.7 | 0.8 | - | 1 | 1 | 1.25 | 1.5 | 1.75 | 2 | 2 | 2.5 | 2.5 | 2.5 | 3 | 3 | 3.5 | 3.5 | 4 | 4 | 4.5 | 4.5 | 5 |
| 细牙 | - | - | - | - | - | - | 1 | 1.25 | 1.5 | 1.5 | 1.5 | 2 | 2 | 2 | 2 | 2 | 2 | 2 | 3 | 3 | 3 | 3 | 3 | |
| 细牙 | - | - | - | - | - | - | - | 1 | 1.25 | - | - | 1.5 | 1.5 | 1.5 | - | - | - | - | - | - | - | - | - | |
| k | 最大值=公称 | 4 | 5 | 5 | - | 6 | 7.5 | 8 | 10 | 12 | 14 | 16 | 18.5 | 20 | 22 | 24 | 27 | 30 | 33 | 36 | 39 | 42 | 45 | 48 |
| 最小值 | 3.7 | 4.7 | 4.7 | - | 5.7 | 7.14 | 7.64 | 9.64 | 11.57 | 13.3 | 15.3 | 17.66 | 18.7 | 20.7 | 22.7 | 25.7 | 28.7 | 31.4 | 34.4 | 37.4 | 40.4 | 43.4 | 46.4 | |
| m | 最小值 | 2.4 | 2.9 | 3.2 | - | 4 | 4.7 | 5.5 | 6.5 | 8 | 9.5 | 10.5 | 13 | 14 | 15 | 15 | 17 | 19 | 22 | 25 | 27 | 29 | 32 | 36 |
| s | 最大值=公称 | 5.5 | 7 | 8 | - | 10 | 11 | 13 | 17 | 19 | 22 | 24 | 27 | 30 | 32 | 36 | 41 | 46 | 50 | 55 | 60 | 65 | 70 | 75 |
| 最小值 | 5.32 | 6.78 | 7.78 | - | 9.78 | 10.73 | 12.73 | 16.73 | 18.67 | 21.67 | 23.67 | 26.16 | 29.16 | 31 | 35 | 40 | 45 | 49 | 53.8 | 58.8 | 63.8 | 68.1 | 73.1 | |
| 千件重kg | 0.5 | 1 | 1.4 | - | 2.4 | 3 | 5.1 | 10.6 | 17.2 | 26 | 34 | 45 | 65 | 75 | 100 | 162 | 212 | 317 | 415 | 499 | 628 | 771 | 998 | |
| ①,产品等级: | ||||||||||||||||||||||||
| ≤ M 16: A级 | ||||||||||||||||||||||||
| > M 16: B级 | ||||||||||||||||||||||||
| ②,机械性能: | ||||||||||||||||||||||||
| ≤ M39:5,6*,8,10级 | ||||||||||||||||||||||||
| > M39:自行协商 | ||||||||||||||||||||||||
| * 仅适用于细牙螺母 | ||||||||||||||||||||||||