DIN 982 - 1987 非金属嵌件锁紧厚螺母
工艺:
详细信息
DIN 982 - 1987 非金属嵌件锁紧厚螺母
材质、等级:4级、8级、10级、12级、A2-70、A4-70 、A4-80等
表面处理:镀普通蓝白锌、普通彩锌、热镀锌、环保彩锌、环保蓝白锌、环保达克罗等
盐雾时间:可做72H、96H、120H、300H、360H、720H等高盐雾处理
电话咨询:400-086-0001 025-86183701-8026
徐小姐
邮件咨询:dm8026@18luosi.com
QQ咨询:2850588428

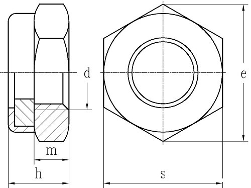
| 公称直径 | M5 | M6 | M7 | M8 | M10 | M12 | M14 | M16 | M18 | M20 | M22 | M24 | |
| P | 螺距 | 0.8 | 1 | 1 | 1.25 | 1.5 | 1.75 | 2 | 2 | 2.5 | 2.5 | 2.5 | 3 |
| 细牙螺距1 | - | - | - | 1 | 1.25 | 1.5 | 1.5 | 1.5 | 2 | 2 | 2 | 2 | |
| 细牙螺距2 | - | - | - | - | 1 | 1.25 | - | - | 1.5 | 1.5 | 1.5 | - | |
| e | 最小值 | 8.79 | 11.05 | 12.12 | 14.38 | 18.9 | 21.1 | 24.49 | 26.75 | 29.56 | 32.95 | 35.03 | 39.55 |
| h | 最大值=公称 | 6.3 | 8 | 8.5 | 9.5 | 11.5 | 14 | 16 | 18 | 20 | 22 | 25 | 28 |
| 最小值 | 6 | 7.7 | 8.2 | 9.14 | 11.14 | 13.64 | 15.3 | 17.3 | 19.16 | 20.7 | 23.7 | 26.7 | |
| s | 最大值=公称 | 8 | 10 | 11 | 13 | 17 | 19 | 22 | 24 | 27 | 30 | 32 | 36 |
| 最小值 | 7.78 | 9.78 | 10.73 | 12.73 | 16.73 | 18.67 | 21.67 | 23.67 | 26.16 | 29.16 | 31 | 35 | |
| m | 最小值 | 4.4 | 4.9 | 6.14 | 6.44 | 8.04 | 10.37 | 12.1 | 14.1 | 15.1 | 16.9 | 18.1 | 20.2 |
| 千件重(钢制)≈kg | 1.4 | 3.1 | 3.2 | 6 | 11.7 | 16.6 | 21 | 37.8 | 51.6 | 68 | 86 | 127 | |