GB/T 1097 - 1979 导向型平键
工艺:
详细信息
GB/T 1097 - 1979 A型 导向型平键
品牌:FLYBEAR
材质:45#、304、316、2205、2Cr13、17-4PH等特殊材质
宽度公差可做到h9、高度公差可做到h11、长度公差可做到H14
表面处理:本色
电话咨询:400-086-0001 025-86183701-8026
徐小姐
邮件咨询:dm8026@18luosi.com
QQ咨询:2850588428
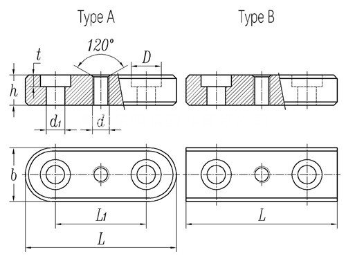
基本尺寸 b | 8 | 10 | 12 | 14 | 16 | 18 | 20 | 22 | 25 | 28 | 32 | 36 | 40 | 45 | ||||
b | h9 | 最大值 | 8 | 10 | 12 | 14 | 16 | 18 | 20 | 22 | 25 | 28 | 32 | 36 | 40 | 45 | ||
最小值 | 7.964 | 9.964 | 11.964 | 13.957 | 15.957 | 17.957 | 19.957 | 21.948 | 24.948 | 27.948 | 31.948 | 35.938 | 39.938 | 44.938 | ||||
h | h11 | 最大值 | 7 | 8 | 8 | 9 | 10 | 11 | 12 | 14 | 14 | 16 | 18 | 20 | 22 | 25 | ||
最小值 | 6.91 | 7.91 | 7.91 | 8.91 | 9.91 | 10.89 | 11.89 | 13.89 | 13.89 | 15.89 | 17.89 | 19.87 | 21.87 | 24.87 | ||||
t | 2.4 | 2.4 | 3 | 3.5 | 3.5 | 4.5 | 4.5 | 4.5 | 6 | 6 | 7 | 8 | 8 | 8 | ||||
d | M3 | M3 | M4 | M5 | M5 | M6 | M6 | M6 | M8 | M8 | M10 | M10 | M10 | M10 | ||||
d1 | 3.4 | 3.4 | 4.5 | 5.5 | 5.5 | 6.6 | 6.6 | 6.6 | 9 | 9 | 11 | 11 | 11 | 11 | ||||
D | 6 | 6 | 8.5 | 10 | 10 | 12 | 12 | 12 | 15 | 18 | 18 | 18 | 18 | 18 | ||||
对A型应减去的重量(kg≈) | 0.76 | 1.4 | 2 | 3 | 4.3 | 6 | 8 | 11 | 15 | 21 | 31 | 44 | 59 | 85 |