GB/T 902.2 电弧螺柱焊用焊接螺柱
工艺:
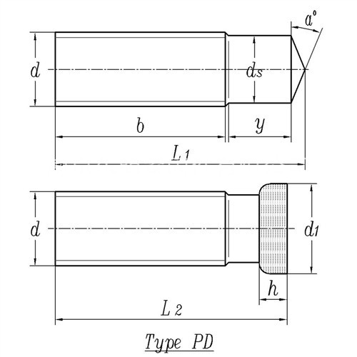
详细信息
GB/T 902.2 电弧螺柱焊用焊接螺柱
将金属螺柱或类似的其他金属部件(栓、钉等)焊接到工件(一般为板件)上去的方法称为螺柱焊,此处用于焊接的螺柱称为焊接螺柱。
材质、等级:304、碳钢、铝合金等材质
表面处理:不锈钢本色、碳钢镀铜、碳钢本色、铝合金本色等。
焊接螺柱分类:储能焊、长周期拉弧焊、短周期拉弧焊、手工焊接等。
ray雷竞技入口专业销售焊接螺柱等,如需技术选型及参数请联系客服。
电话咨询:400-086-0001 025-86183701-8026
徐小姐
邮件咨询:dm8026@18luosi.com
QQ咨询:2850588428
手机咨询:13584080500

| 公称直径 | M3 | M4 | M5 | M6 | M8 | M10 | M12 | (M14) | M16 | (M18) | M20 | |
| P | 螺距 | 0.5 | 0.7 | 0.8 | 1 | 1.25 | 1.5 | 1.75 | 2 | 2 | 2.5 | 2.5 |
| b | 公称 | 12 | 14 | 16 | 18 | 22 | 26 | 30 | 34 | 38 | 42 | 46 |
| 加长 | 15 | 20 | 22 | 24 | 28 | 45 | 49 | 53 | 57 | 61 | 65 | |
| ①,b值偏差:0~2p | ||||||||||||