ANSIASME B 18.6.3 - 2013 82°半沉头精整螺钉
工艺:
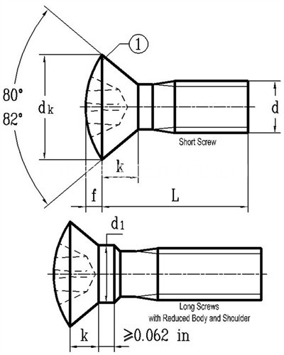
详细信息
ANSIASME B 18.6.3 - 2013 82°半沉头精整螺钉
材质、等级:4.8级、8.8级、10.9级、12.9级、304、316等。
表面处理:环保蓝白锌,环保彩锌,环保达克罗,锌镍合金,镀镍,环保黑锌等。
盐雾时间:可做48H、72H、120H、240H等。
可做十字一字复合槽、防盗槽型、锁紧螺纹、涂胶螺钉等,可根据客户要求进行定制。
电话咨询:400-086-0001 025-86183701-8026
徐小姐
邮件咨询:dm8026@18luosi.com
QQ咨询:2850588428

| 螺纹尺寸 d | 4# | 5# | 6# | 6# | 8# | 8# | 10# | 12# | 12# | 14# ④ | 14# ④ | 1/4 | 1/4 | 5/16 | 5/16 | 3/8 | |
| d | 公称 | 0.112 | 0.125 | 0.138 | 0.138 | 0.164 | 0.164 | 0.19 | 0.216 | 0.216 | 0.242 | 0.242 | 0.25 | 0.25 | 0.3125 | 0.3125 | 0.375 |
| PP | 粗牙/UNC | 40 | 40 | 32 | 32 | 32 | 32 | 24 | 24 | 24 | - | - | 20 | 20 | 18 | 18 | 16 |
| 代号 | 头部尺寸 | 3 | 4 | 4 | 5 | 5 | 6 | 8 | 8 | 10 | 10 | 12 | 10 | 12 | 12 | 5月16日 | 3月8日 |
| d1 | 最大值 | 0.112 | 0.125 | 0.138 | 0.138 | 0.164 | 0.164 | 0.19 | 0.216 | 0.216 | - | - | 0.25 | 0.25 | 0.312 | 0.312 | 0.375 |
| 最小值 | 0.106 | 0.119 | 0.131 | 0.131 | 0.157 | 0.157 | 0.181 | 0.207 | 0.207 | - | - | 0.24 | 0.24 | 0.302 | 0.302 | 0.364 | |
| (自攻/A型) 最大值 | 0.105 | 0.118 | 0.131 | 0.131 | 0.157 | 0.157 | 0.183 | 0.209 | 0.209 | 0.235 | 0.235 | - | - | - | - | - | |
| (自攻/其他类) 最小值 | 0.106 | 0.119 | 0.131 | 0.131 | 0.157 | 0.157 | 0.181 | 0.207 | 0.207 | - | - | 0.24 | 0.24 | 0.302 | 0.302 | 0.364 | |
| dk | 最大值 | 0.187 | 0.212 | 0.212 | 0.237 | 0.237 | 0.262 | 0.312 | 0.312 | 0.362 | 0.362 | 0.412 | 0.362 | 0.412 | 0.412 | 0.477 | 0.597 |
| 最小值 | 0.167 | 0.191 | 0.191 | 0.215 | 0.215 | 0.238 | 0.285 | 0.285 | 0.333 | 0.333 | 0.38 | 0.333 | 0.38 | 0.38 | 0.442 | 0.556 | |
| k | 参考值 | 0.057 | 0.066 | 0.058 | 0.075 | 0.06 | 0.076 | 0.094 | 0.078 | 0.111 | 0.091 | 0.124 | 0.091 | 0.124 | 0.087 | 0.13 | 0.173 |
| f | 参考值 | 0.033 | 0.037 | 0.037 | 0.041 | 0.041 | 0.045 | 0.076 | 0.076 | 0.06 | 0.06 | 0.068 | 0.06 | 0.068 | 0.068 | 0.079 | 0.099 |
| ①,头部边缘为倒圆或平的。 | |||||||||||||||||
| ②,5#以及更小规格的短机械螺钉(Short machine screws)公称长度不大于1 1/8英寸,6#及更大规格的短机械螺钉公称长度为2英寸。 | |||||||||||||||||
| ③,全牙自攻螺钉为短自攻螺钉(Short tapping screw)。详见标准中4.3章节。 | |||||||||||||||||
| ④,14#仅用于自攻螺钉。 | |||||||||||||||||
| ⑤,对于A型自攻螺钉,最大直径不得超过最小值加上0.011英寸,对于所有其他自攻螺钉类型,最大直径不得超过基本螺钉直径。 | |||||||||||||||||
| ⑥,其他凹槽型式请点击正文标题下方的“采用标准” | |||||||||||||||||