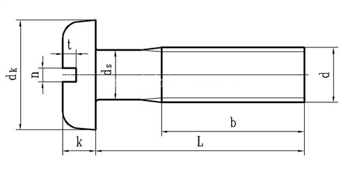
ANSIASME B 18.6.3 - 2013 开槽盘头螺钉头部尺寸 [Table 17]
工艺:
详细信息
ANSIASME B 18.6.3 - 2013 开槽盘头螺钉头部尺寸 [Table 17]
材质、等级:4.8级、8.8级、10.9级、12.9级、304、316等。
表面处理:环保蓝白锌,环保彩锌,环保达克罗,锌镍合金,镀镍,环保黑锌等。
盐雾时间:可做48H、72H、120H、240H等。
可做十字一字复合槽、防盗槽型、锁紧螺纹、涂胶螺钉等,可根据客户要求进行定制。
电话咨询:400-086-0001 025-86183701-8026
徐小姐
邮件咨询:dm8026@18luosi.com
QQ咨询:2850588428
螺纹尺寸 d | 0000#④ | 000#④ | 00# ④ | 0# | 1# | 2# | 3# | 4# | 5# | 6# | 7# ③ | 8# | 10# | 12# | 14# ③ | 1/4 | 16# ③ | 18# ③ | 5/16 | 20# ③ | 24# ③ | 3/8 | 7/16 | 1/2 | 9/16④ | 5/8 ④ | 3/4 ④ | |
d | 公称 | 0.021 | 0.034 | 0.047 | 0.06 | 0.073 | 0.086 | 0.099 | 0.112 | 0.125 | 0.138 | 0.151 | 0.164 | 0.19 | 0.216 | 0.242 | 0.25 | 0.268 | 0.294 | 0.3125 | 0.32 | 0.372 | 0.375 | 0.4375 | 0.5 | 0.5625 | 0.625 | 0.75 |
PP | 粗牙/UNC | / | / | / | / | 64 | 56 | 48 | 40 | 40 | 32 | / | 32 | 24 | 24 | / | 20 | / | / | 18 | / | / | 16 | 14 | 13 | 12 | 11 | 10 |
dk | 最大值 | 0.042 | 0.066 | 0.09 | 0.116 | 0.142 | 0.167 | 0.193 | 0.219 | 0.245 | 0.27 | 0.296 | 0.322 | 0.372 | 0.425 | 0.476 | 0.492 | 0.528 | 0.579 | 0.615 | 0.631 | 0.734 | 0.74 | 0.863 | 0.987 | 1.041 | 1.172 | 1.435 |
最小值 | 0.036 | 0.06 | 0.082 | 0.104 | 0.13 | 0.155 | 0.18 | 0.205 | 0.231 | 0.256 | 0.281 | 0.306 | 0.357 | 0.407 | 0.457 | 0.473 | 0.508 | 0.558 | 0.594 | 0.608 | 0.709 | 0.716 | 0.837 | 0.958 | 1 | 1.125 | 1.375 | |
k | 最大值 | 0.016 | 0.023 | 0.032 | 0.039 | 0.046 | 0.053 | 0.06 | 0.068 | 0.075 | 0.082 | 0.089 | 0.096 | 0.11 | 0.125 | 0.139 | 0.144 | 0.153 | 0.168 | 0.178 | 0.182 | 0.211 | 0.212 | 0.247 | 0.281 | 0.315 | 0.35 | 0.419 |
最小值 | 0.01 | 0.017 | 0.025 | 0.031 | 0.038 | 0.045 | 0.051 | 0.058 | 0.065 | 0.072 | 0.079 | 0.085 | 0.099 | 0.112 | 0.126 | 0.13 | 0.139 | 0.153 | 0.162 | 0.166 | 0.193 | 0.195 | 0.228 | 0.26 | 0.293 | 0.325 | 0.39 | |
n | 最大值 | 0.008 | 0.012 | 0.017 | 0.023 | 0.026 | 0.031 | 0.035 | 0.039 | 0.043 | 0.048 | 0.048 | 0.054 | 0.06 | 0.067 | 0.075 | 0.075 | 0.075 | 0.084 | 0.084 | 0.084 | 0.094 | 0.094 | 0.094 | 0.106 | 0.118 | 0.133 | 0.149 |
最小值 | 0.004 | 0.008 | 0.01 | 0.016 | 0.019 | 0.023 | 0.027 | 0.031 | 0.035 | 0.039 | 0.039 | 0.045 | 0.05 | 0.056 | 0.064 | 0.064 | 0.064 | 0.072 | 0.072 | 0.072 | 0.081 | 0.081 | 0.081 | 0.091 | 0.102 | 0.116 | 0.131 | |
t | 最大值 | 0.008 | 0.012 | 0.016 | 0.022 | 0.027 | 0.031 | 0.036 | 0.04 | 0.045 | 0.05 | 0.054 | 0.058 | 0.068 | 0.077 | 0.085 | 0.087 | 0.093 | 0.1 | 0.106 | 0.108 | 0.123 | 0.124 | 0.142 | 0.161 | 0.179 | 0.197 | 0.234 |
最小值 | 0.004 | 0.008 | 0.01 | 0.014 | 0.018 | 0.022 | 0.026 | 0.03 | 0.034 | 0.037 | 0.041 | 0.045 | 0.053 | 0.061 | 0.068 | 0.07 | 0.074 | 0.08 | 0.085 | 0.087 | 0.1 | 0.1 | 0.116 | 0.131 | 0.146 | 0.162 | 0.192 | |
③,7#, 14#, 16#, 18#, 20#, 24# 仅用于自攻螺钉。 | ||||||||||||||||||||||||||||
④,0000#, 000#, 00#, 9/16, 5/8, 3/4 仅用于机械螺钉。 | ||||||||||||||||||||||||||||
⑤,ds应不小于2A级螺纹最小中径,并不大于公称(基本)螺纹大径。 | ||||||||||||||||||||||||||||
⑥,机械螺钉的螺纹长度: | ||||||||||||||||||||||||||||
1)螺纹规格≤5#: | ||||||||||||||||||||||||||||
公称长度≤3倍公称直径的应为满扣产品,头下螺纹肩距≤1倍螺距。 | ||||||||||||||||||||||||||||
公称长度>3倍公称直径到 1-1/8 in 的,允许头下肩距最大不超过2倍螺距。 | ||||||||||||||||||||||||||||
若无其他规定,长螺钉的最小螺纹长度为1 in 。 | ||||||||||||||||||||||||||||
2)螺纹规格≥6#: | ||||||||||||||||||||||||||||
公称长度≤3倍公称直径的应为满扣产品,头下螺纹肩距≤1倍螺距。 | ||||||||||||||||||||||||||||
公称长度>3倍公称直径到 2 in 的,允许头下螺纹肩距最大不超过2倍螺距。 | ||||||||||||||||||||||||||||
若无其他规定,长螺纹最小螺纹长度为 1.5 in 。 |