DIN 964 - 1990 开槽半沉头螺钉

工艺:

详细信息

DIN 964 - 1990 开槽半沉头螺钉

 

材质、等级:4.8级、8.8级、10.9级、12.9级、304、316等。

 

表面处理:环保蓝白锌,环保彩锌,环保达克罗,锌镍合金,镀镍,环保黑锌等。

 

盐雾时间:可做48H、72H、120H、240H等。

 

可做十字一字复合槽、防盗槽型、锁紧螺纹、涂胶螺钉等,可根据客户要求进行定制。

 

电话咨询:400-086-0001 025-86183701-8026

 

徐小姐

 

邮件咨询:dm8026@18luosi.com

 

QQ咨询:2850588428 

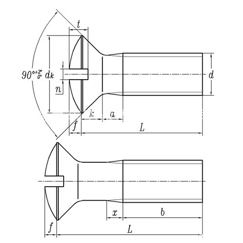
公称直径 M1 M1.2 M1.4 M1.6 M2 M2.5 M3 M3.5 M4 M5 M6 M8 M10
P 螺距 0.25 0.25 0.3 0.35 0.4 0.45 0.5 0.6 0.7 0.8 1 1.25 1.5
dk 最大值 1.9 2.3 2.6 3 3.8 4.7 5.6 6.5 7.5 9.2 11 14.5 18
最小值 1.76 2.06 2.46 2.86 3.5 4.4 5.3 6.14 7.14 8.84 10.57 14.07 17.5
k 最大值 0.6 0.72 0.84 0.96 1.2 1.5 1.65 1.93 2.2 2.5 3 4 5
n 最大值 0.45 0.5 0.5 0.6 0.7 0.8 1 1 1.2 1.51 1.91 2.31 2.81
最小值 0.31 0.36 0.36 0.46 0.56 0.66 0.86 0.86 1.06 1.26 1.66 2.06 2.56
t 最大值 0.5 0.6 0.65 0.8 1 1.2 1.45 1.7 1.9 2.3 2.8 3.7 4.6
最小值 0.4 0.5 0.52 0.65 0.8 1 1.2 1.4 1.6 2 2.4 3.2 4