ANSIASME B 18.6.3 - 2013 82°半沉头精整螺钉 [table 15]

工艺:

详细信息

ANSIASME B 18.6.3 - 2013 82°半沉头精整螺钉 [table 15]

 

材质、等级:4.8级、8.8级、10.9级、12.9级、304、316等。

 

表面处理:环保蓝白锌,环保彩锌,环保达克罗,锌镍合金,镀镍,环保黑锌等。

 

盐雾时间:可做48H、72H、120H、240H等。

 

可做十字一字复合槽、防盗槽型、锁紧螺纹、涂胶螺钉等,可根据客户要求进行定制。

 

电话咨询:400-086-0001 025-86183701-8026

 

徐小姐

 

邮件咨询:dm8026@18luosi.com

 

QQ咨询:2850588428 

螺纹尺寸 d 4# 5# 6# 6# 8# 8# 10# 12# 12# 14#  14#    1/4   1/4   5/16   5/16   3/8
d 公称 0.112 0.125 0.138 0.138 0.164 0.164 0.19 0.216 0.216 0.242 0.242 0.25 0.25 0.3125 0.3125 0.375
PP 粗牙/UNC 40 40 32 32 32 32 24 24 24 - - 20 20 18 18 16
代号 头部尺寸 3 4 4 5 5 6 8 8 10 10 12 10 12 12 5月16日 3月8日
d1 最大值 0.112 0.125 0.138 0.138 0.164 0.164 0.19 0.216 0.216 - - 0.25 0.25 0.312 0.312 0.375
最小值 0.106 0.119 0.131 0.131 0.157 0.157 0.181 0.207 0.207 - - 0.24 0.24 0.302 0.302 0.364
(自攻/A型) 最大值 0.105 0.118 0.131 0.131 0.157 0.157 0.183 0.209 0.209 0.235 0.235 - - - - -
(自攻/其他类) 最小值 0.106 0.119 0.131 0.131 0.157 0.157 0.181 0.207 0.207 - - 0.24 0.24 0.302 0.302 0.364
dk 最大值 0.187 0.212 0.212 0.237 0.237 0.262 0.312 0.312 0.362 0.362 0.412 0.362 0.412 0.412 0.477 0.597
最小值 0.167 0.191 0.191 0.215 0.215 0.238 0.285 0.285 0.333 0.333 0.38 0.333 0.38 0.38 0.442 0.556
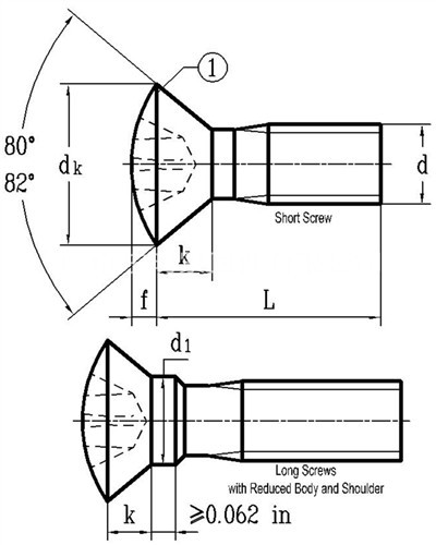
k 参考值 0.057 0.066 0.058 0.075 0.06 0.076 0.094 0.078 0.111 0.091 0.124 0.091 0.124 0.087 0.13 0.173
f 参考值 0.033 0.037 0.037 0.041 0.041 0.045 0.076 0.076 0.06 0.06 0.068 0.06 0.068 0.068 0.079 0.099
①,头部边缘为倒圆或平的。
②,5#以及更小规格的短机械螺钉(Short machine screws)公称长度不大于1 1/8英寸,6#及更大规格的短机械螺钉公称长度为2英寸。
③,全牙自攻螺钉为短自攻螺钉(Short tapping screw)。详见标准中4.3章节。
④,14#仅用于自攻螺钉。
⑤,对于A型自攻螺钉,最大直径不得超过最小值加上0.011英寸,对于所有其他自攻螺钉类型,最大直径不得超过基本螺钉直径。
⑥,其他凹槽型式请点击正文标题下方的“采用标准”