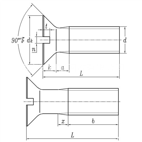
DIN 963 - 1990 开槽沉头螺钉
工艺:
详细信息
DIN 963 - 1990 开槽沉头螺钉
材质、等级:4.8级、8.8级、10.9级、12.9级、304、316等。
表面处理:环保蓝白锌,环保彩锌,环保达克罗,锌镍合金,镀镍,环保黑锌等。
盐雾时间:可做48H、72H、120H、240H等。
可做十字一字复合槽、防盗槽型、锁紧螺纹、涂胶螺钉等,可根据客户要求进行定制。
电话咨询:400-086-0001 025-86183701-8026
徐小姐
邮件咨询:dm8026@18luosi.com
QQ咨询:2850588428

| 公称直径 | M1 | M1.2 | M1.4 | M1.6 | M2 | M2.5 | M3 | M3.5 | M4 | M5 | M6 | M8 | M10 | M12 | M14 | M16 | M18 | M20 | |
| P | 螺距 | 0.25 | 0.25 | 0.3 | 0.35 | 0.4 | 0.45 | 0.5 | 0.6 | 0.7 | 0.8 | 1 | 1.25 | 1.5 | 1.75 | 2 | 2 | 2.5 | 2.5 |
| b | 最小值 | / | / | / | 15 | 16 | 18 | 19 | 20 | 22 | 25 | 28 | 34 | 40 | 46 | 52 | 58 | 64 | 70 |
| dk | 最大值 | 1.9 | 2.3 | 2.6 | 3 | 3.8 | 4.7 | 5.6 | 6.5 | 7.5 | 9.2 | 11 | 14.5 | 18 | 22 | 25 | 29 | 33 | 36 |
| 最小值 | 1.76 | 2.06 | 2.46 | 2.86 | 3.5 | 4.4 | 5.3 | 6.14 | 7.14 | 8.84 | 10.57 | 14.07 | 17.57 | 21.48 | 24.48 | 28.48 | 32.38 | 35.38 | |
| k | 最大值 | 0.6 | 0.72 | 0.84 | 0.96 | 1.2 | 1.5 | 1.65 | 1.93 | 2.2 | 2.5 | 3 | 4 | 5 | 6 | 7 | 8 | 9 | 10 |
| n | 最大值 | 0.45 | 0.5 | 0.5 | 0.6 | 0.7 | 0.8 | 1 | 1 | 1.2 | 1.51 | 1.91 | 2.31 | 2.81 | 3.31 | 3.31 | 4.37 | 4.37 | 5.37 |
| 最小值 | 0.31 | 0.36 | 0.36 | 0.46 | 0.56 | 0.66 | 0.86 | 0.86 | 1.06 | 1.26 | 1.66 | 2.06 | 2.56 | 3.06 | 3.06 | 4.07 | 4.07 | 5.07 | |
| t | 最大值 | 0.3 | 0.35 | 0.4 | 0.45 | 0.6 | 0.7 | 0.85 | 1 | 1.1 | 1.3 | 1.6 | 2.1 | 2.6 | 3 | 3.5 | 4 | 4.5 | 5 |
| 最小值 | 0.2 | 0.25 | 0.28 | 0.32 | 0.4 | 0.5 | 0.6 | 0.7 | 0.8 | 1 | 1.2 | 1.6 | 2 | 2.4 | 2.6 | 3.2 | 3.6 | 4 | |